销售热线:0514-88366888 服务热线:0514-88366999
当前位置:产品中心 product content
产品详情
| YGZB 型高效无堵塞无泄漏纸浆泵 |
| ·产品概述 |
| YGZB型高效无堵塞无泄漏纸浆泵是在消化吸收国外先进泵类产品的基础上,结合国内造纸、制浆企业用泵要求而研制开发的新一代纸浆泵产品,具有明显的高效,防堵塞性能好及运行时无泄漏、安装维修方便等优点,广泛应用于造纸、制浆企业纸浆介质的输送。
|
| ·适用范围 |
| ★制浆造纸 ★制糖淀粉 ★工业污水 ★环保工程 |
| ·性能范围 |
| 流量:40 - 3300m3/h 扬程:5 - 120m 纸浆浓度:≤6% 工作温度≤120℃ |
| ·型号说明 |
![]() |
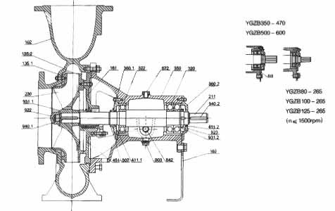
| ·结构特点 |
| 1、该泵为后开门结构,维修时不必拆卸管路。 2、泵的进出 口法兰按1.6MPa压力设计。 3、叶轮采用三叶片(或六叶片),敞开式叶轮, 效率很高且不要轴向推力补偿,易于维修 ,堵塞机会低。 4、泵轴由使用油润滑的,重载耐磨擦的,进口SKF圆柱滚子 轴承和径向推力球轴承(角接 触球轴承)组合支承。圆柱滚子轴承安装在泵端,径向推力球轴承则面对面安装在传 动端 。 5、轴封主要有泵送环加单端面机封,填料密封、单端面机封、串联式机封 、双端面机封、 泵送环与单端面机封组合密封、动态密封共六种形式,用户可根据要求和实际使用工 况选 用。 6、叶轮采用石蜡精密铸造并作动平衡效验。 7、材料有铸铁、 铸钢、普通不锈钢、双相不锈钢四种。 |
| ·结构简图 |
![]() |
![]() |
| ·性能参数(试验介质:常温清水) |
| YGZB 型高效无堵塞无泄漏纸浆泵(一) |
| YGZB 型高效无堵塞无泄漏纸浆泵(二) |
| YGZB 型高效无堵塞无泄漏纸浆泵(三) |
| YGZB 型高效无堵塞无泄漏纸浆泵(四) |
| YGZB 型高效无堵塞无泄漏纸浆泵(五) |
| YGZB 型高效无堵塞无泄漏纸浆泵(六) |
| YGZB 型高效无堵塞无泄漏纸浆泵(七) |
| YGZB型高效无堵塞无泄漏纸浆泵备件表 |
企业导航Enterprise
推荐新闻News
- 迎浪销售公司搬到苏中北路90-1
- DATA:2014-01-11 09:34:30
- 2013迎浪网站改版了!
- DATA:2013-05-08 20:08:32
- 迎浪科技网站法律声明
- DATA:2013-03-28 17:08:29
- 雨中遐思
- DATA:2013-03-28 17:32:10
- 春 之 歌
- DATA:2013-03-28 17:33:49
- 联系电话:0514-88366999
- 联系传真:0514-88366777
- 联系邮箱:yl@ylpump.com
- 联系地址:江苏宝应北郊工业园区





